Вызов команды:
Пиктограмма |
Лента |
|---|---|
Чертёж > Чертёж > Чертёжный вид Листовой металл (2D) > Чертёж > Чертёжный вид |
|
Клавиатура |
Текстовое меню |
<SD> |
Чертёж > Чертёжный вид |
Данный раздел посвящен одному из вспомогательных элементов системы T-FLEX CAD – чертёжному виду, а также его параметрам и способам редактирования. Дополнительные и местные виды, выносные элементы и сечения – любой случай, требующий добавления к основному изображению дополнительного, особенно построенного в другом масштабе, входит в сферу применения чертёжного вида. С его помощью можно собрать воедино на общей странице элементы с разных страниц, отобразить на одной странице содержимое другой страницы (или его части) в разных масштабах и даже создать простую сборку из размещенных в том же документе деталей.
Общие сведения о чертёжных видах
Чертёжный вид – элемент T-FLEX CAD, позволяющий содержимое одной страницы (или его часть) отображать на другой странице в необходимом масштабе. Он представляет собой прямоугольную область заданных размеров, в которой будет отображаться содержимое другой страницы.

Отображаемая чертёжным видом страница может быть как выбрана из списка уже существующих в документе, так и создана дополнительно при создании вида. Вновь созданной странице присваивается тип Вспомогательная. Чертёжный вид может быть вложенным, т.е. может располагаться внутри другого чертёжного вида.
Положение прямоугольника чертёжного вида на основной странице может быть задано как явным указанием точки привязки и угла поворота прямоугольника, так и с помощью вектора привязки, расположенного на странице вида.
Основное назначение чертёжного вида – объединение на одной странице чертежа элементов, выполненных в разном масштабе. Например, создав на одной странице изображение некого объекта, на другой странице мы можем разместить чертёжные виды, отображающие части данного изображения в разных масштабах.
Кроме того, чертёжные виды могут быть использованы и для простого объединения содержимого разных страниц, например, для добавления к основному чертежу различных дополнительных, местных видов и сечений, выполненных на других страницах документа и имеющих другой масштаб. Данная возможность является наиболее распространенным способом использования чертёжных видов в T-FLEX CAD. Причём изображение таких выносных элементов может быть автоматически скопировано при создании чертёжного вида с других страниц текущего документа и дополнено обозначением вида.
|
|
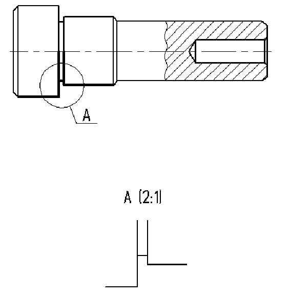
Выносной вид |
Выносной вид с обозначением |
Создавать и редактировать изображение, отображаемое на чертёжном виде, можно, работая на отдельной странице, соответствующей чертёжному виду, или непосредственно в указанной области основной страницы, активировав вид.
Типы чертёжных видов
Создание чертёжных видов осуществляется с помощью команды Чертёжный вид.
После вызова команды в автоменю появляются следующие опции:
|
<О> |
|
|
<V> |
|
|
<С> |
|
|
<S> |
Данные опции определяют тип создаваемого вида.

Тип вида можно также выбрать из выпадающего списка в окне параметров. Окно параметров команды и автоменю работают синхронно.
Разрывы чертёжных видов
При создании и редактировании чертёжных видов в автоменю доступна опция:
|
<B> |
Добавить или редактировать разрывы |
Работа с разрывами чертёжных видов осуществляется аналогично работе с разрывами проекций. Подробная информация доступна в главе Разрывы проекций и чертёжных видов.
Основные темы в этом разделе:
•Размеры и положение чертёжного вида
•Создание выносного вида по элементам
•Создание выносного вида с обозначением
•Создание выносного вида по контуру обрезки
•Диалог параметров чертёжного вида
•Контекстное меню чертёжного вида
•Активация чертёжных видов и проекций
•Исключения для элементов чертёжного вида
См. также:
•Создание чертежа по 3D модели
•Разрывы проекций и чертёжных видов