Вызов команды:
Пиктограмма |
Лента |
|---|---|
Сборка (3D) > Дополнительно > Вид по стрелке Сварка > Дополнительно > Вид по стрелке |
|
Клавиатура |
Текстовое меню |
<3АJ> |
|
Также данная команда доступна в виде опции в команде Проекция:
|
<3> |
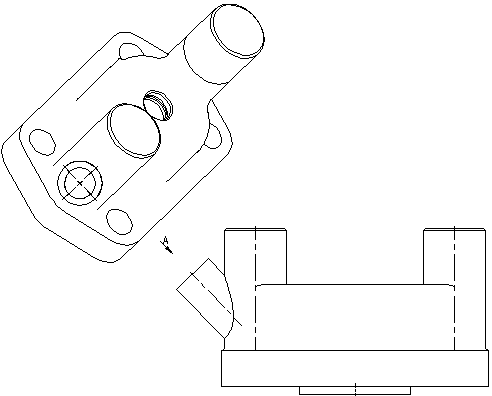
Вид по стрелке |
Прежде, чем создавать Вид по стрелке, необходимо нанести на чертеж стрелку, задающие направление проекции вида по стрелке.
Для этого необходимо активировать вид, с которого будет браться проекция, и вызвать команду Обозначение вида и выбрать опцию:
|
<R> |
Создать вид по стрелке |
Теперь можно наносить стрелку на чертёж, привязываясь к любым элементам или в произвольное место. По умолчанию стрелка направлена вправо, для более точной настройки направления можно воспользоваться опциями автоменю:
|
<N> |
Выбрать узел привязки |
|
<B> |
Задать первый узел привязки |
|
<E> |
Задать второй узел привязки |
|
<Z> |
Изменить направление стрелки |
|
<H> |
Изменить положение текста |
С помощью опции
можно выбрать первый узел привязки к проекции, для удобства система автоматически продлевает линии, для более удобного размещения стрелки:

Далее система автоматически предлагает выбрать второй узел привязки.

Дополнительно можно воспользоваться опциями
и
. Опция изменения положения стрелки
поворачивает стрелку по часовой на 90 градусов при каждой активации, а опция изменения положения текста
перемещает текст по двум возможных позициям - над стрелкой или под стрелкой.
После того, как стрелка была создана, можно приступать к формированию проекции.
Вызовите команду Вид по стрелке и выберите недавно построенную стрелку на чертеже.

Относительно главного вида будет строиться дополнительный. По умолчанию дополнительный вид сохраняет проекционную связь с главным видом. Для того, чтобы разорвать связь с видом необходимо деактивировать в автоменю опцию:
|
<K> |
Установить / разорвать проекционную связь с проекцией |
Последние действия – расположите проекцию на чертеже и, если нужно, выберите элементы модели для проецирования.
См. также:
•Положение проекции на чертеже
•Дополнительные параметры проекции
•Элементы 3D модели на проекции
•Проекция по модели внешнего файла
•Параметры разрезов и сечений на проекциях